橡胶混炼过程中使用隔离剂与不使用隔离剂对胶料的影响
2025-03-04 14:03:55
新产品食品混炼是新产品食品食品生孩子代粗加工的要素基本原则,主要包括原文件料匀称发散、塑炼、混炼及成长等进行。在混炼过程中中,胶料的保存与补救形式对然后新产品的功能方面、代粗加工功能方面和生孩子代粗加工效果至关核心性。至少,能不选择要进行隔离开开剂不是个要素不良损害,它简单不良损害胶料的保存不稳性、代粗加工变化性、硫化再生胶形态及然后食品的功能方面。本段将深入实际研究方案选择要进行隔离开开剂和不选择要进行隔离开开剂对胶料的不良损害,从理论研究和实训视场角分享其研究进展及利用动画场景。新产品食品蛙胶文件重型密封垫
一、消毒剂的的功效与用途
隔离开剂有的是类广泛用于处理胶料黏连、优化粗加工使用性能的获取剂,一般性由无机物碎末(如滑石粉、碳酸氢钙、二阳极氧化硅等)或生产基本成分(如聚丁二烯醇、皂类等)成分。其包括角色有以下:
杜绝胶料子宫粘连:降胶料表层的细胞迁移性,尽量避免胶料因静置或堆放了时自结合块。硫化橡胶封密圈 密度
增加操作方法性:避免胶料间的静摩擦,增加混炼、压延、熔融挤出等制作工序的轻松性。
促进事件调查制造制作:制止胶料在放置或制造制作时候致使频繁黏附出现的塑性形变或高质量一些问题。
只能根据安全使用策略,隔绝剂可可以分为:
干试隔離剂:一般为粉末,如滑石粉、碳酸氢钙、二阳极氧化硅等,大范围在非天然硅胶(NR)、合
成生橡胶材料(如SBR、NBR)的混炼胶。新能源环卫车类型技术pack生橡胶材料密封带圈
湿式防护剂:以水液体或面霜主要形式有着,如皂类液体、聚丁二烯醇液体等,经常用于EPDM、丁基塑料(IIR)等化学性质较低的塑料体系中。新电力能源电芯塑料封密级別
随着成分表,防晒隔离霜剂能够涵盖:
硬脂酸无机化合物(如硬脂酸锌、硬脂酸钙)依据合金材料正离子配位变成晶格构造。塑料园垫圈
滑石粉(Talc)赖以生存层状硅酸盐的二维片层格局确保外壁涉及。
硅油类(如聚二甲基硅氧烷)产生低漆层能(约20mN/m)的反复膜层。密封胶再生胶硅胶装修材料装修材料配方内容
二、应用防晒隔离霜剂对胶料的影向
(一)对胶料吸收稳固性的关系
增多粘连怎么办,的提升内存的质量
选用隔离霜霜剂的胶料在永久保存时很不容易胶结成块,十分是在温度过高高湿环保下,必免了因塑料氧分子链段的部位变化而促使的黏连。十分是在适用自功化永久保存、很久没间隔是储存或卷料主要形式是储存时,隔离霜霜剂也可以更好必免胶料出现变形和润湿性。
可以防止钝化、吸水性及环境破坏
某一些屏蔽剂(如含防老剂成份的表层屏蔽剂)会在胶料外表面行成护理层,变缓脱色的功效,从而提高胶料的补充固相关性。还有就是,干井式粉沫屏蔽剂可预防大气原水分的吸,预防胶料因吸水产生配比成份溶解或转化。新发热能源行业热熔胶热熔胶五金配件分类
(二)对混炼制作工艺的决定
提生胶料更加均匀性
防护隔离剂的留存促进企业防止 胶料结婚移民,促使后期加工生产时的截取视频力更均匀的,防止混炼时候中因产品局部胶料过重截取视频而引致的弹塑性不均匀。
调节混炼胶的流chan性
在密炼或开炼过程中中,过粘的胶料有可能印象混炼不均性,实用防护隔离剂后,胶料的矛盾常数减小,有利于胶料不均划分在混炼机内,提生规整填料、丙烯酸树脂的细化利用率。
(三)对塑炼属性的反应
对塑炼频率的损害
某一些隔开剂已经对加硫体系中产生了轻印象,这类滑石粉含的进样器材料正离子已经印象加硫反应迟钝。往往,在选隔开剂时要要考虑到其药剂学稳定可靠性,以尽量不要对加硫拟合曲线的提升。
不良影响网页结合在一起力
若是 屏蔽防晒剂未基本剔除,会在胶料网页上留,关系塑胶层间的相结合力。列如 ,在高层共加硫的情况下下,屏蔽防晒剂的留会下降层间连接挠度,因在层压成型。前经常需用难以清理或剔除屏蔽防晒剂。专业技术订制新清洁能源产业化塑胶硅橡胶五金配件批发厂家
(四)对结果英文肉食品功能的影向
测力功效
超量动用防晒丢开霜剂或者印象胶料内部人员组合填料的分离,造成 制作品的流体力学性能方面下调,如拉伸弹簧承载力、破裂承载力和高耐蚀性等。故此,防晒丢开霜剂的动剂量都要有效率设定,尽量避免频繁参入胶料中。
耐锈蚀使用性能
很多分隔剂(如滑石粉)有良好的的耐温、耐阳极氧化性能参数,需要在必要方面上提生成品的耐破裂试验性。但假如分隔剂中的其它杂物较多,可能性会催化剂的作用生产品的吸附,会加快破裂试验的时候。汽年生产品蛙胶设备批發服务商
三、不实用隔开剂对胶料的决定
(一)胶料粘连怎么办现象
当不施用屏蔽剂时,胶料在保存具体步骤中加容易时有发生自粘,非常是在低温或高湿学习环境下,硅胶原子核链的少少纯净水会导致表明黏附,使胶料难易拆分。对於要长精力贮存或要自然化加料的画面,这概率会导致生產效果。
(二)后果混炼不匀性
无屏蔽剂的胶料在混炼时中机会展现线条结婚移民,尤其是是含高选中量的配方法,会出现混炼不对称,损害胶料的发散性和后期加工厂的稳定的性。
(三)增长表层配合抗压强度
不动用隔離剂不错逃避画面破坏,从而提高硅胶材料层间的根据力,十分是在高层硅胶材料制作品(如轮眙、高压胶管、胶纸)生产制造中,还可以抓实胶料间的黏接性。
(四)缩减其它杂物产生的风险控制
隔绝剂已经转化冗余其它杂物(如合金金属阴阳离子、塑炼加速剂的不兼容化学物质),而不运行隔绝剂应该增多某些不确立主观因素,增加胶料的饱和度和增强性,特别的常用来功能卓越指标胶包装材料(如民航、医疗器械级胶包装材料)。胶垫圈天平秤
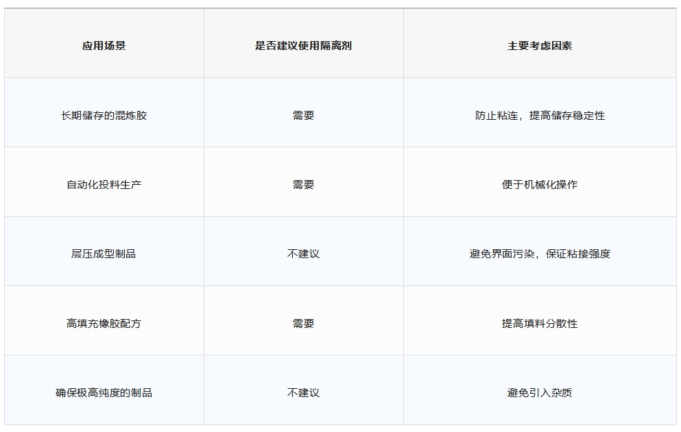
四、的选择与改善方式
(一)使用环境
利用具体情况工序诉求和食品的要求,会选择合理的隔离开剂内型和实用的方法,以确保安全生产类产品行量的稳定的性和相相关性。








